煤矸石综合利用政策及途径
发布日期:2025/6/26 15:59:48 浏览量: 【字体:大 中 小】煤炭是国家能源结构中的重要组成部分,然而,煤炭开采和能源生产显著影响环境。在煤炭的开采和洗选过程中,会产生煤矸石,其产量约占煤炭总产出的10%~20%。2011—2023年,我国煤炭行业每年煤矸石排放量稳定在6.00亿~8.25亿t。2023年煤矸石排放量达到8.25亿t,较上一年增长了2.1%(图1)。由于其热值较低且难以利用,煤矸石通常被露天堆放于矿区附近的地表。大量煤矸石的堆积不仅占用了土地资源,而且造成了自燃、山体滑坡、水体污染等严重的环境问题。据不完全统计,现有煤矸石已经形成了超过2600座矸石山,占据了约1.5万hm²的土地。这一现象已经逐渐演变成一个日益严峻的环境问题。

图1 2013—2023年中国煤矸石年产量及增长率
2020年《中华人民共和国固体废物污染环境防治法》中提出煤矸石“减量化、无害化、资源化”的总原则,旨在减少固体废物的产生量、促进固体废物的综合利用、降低固体废物的危害性,最大限度降低固体废物填埋量。随着环境法规的推出和对煤矸石潜在利用价值的探讨,其综合利用途径不断增加。Chugh等提出了煤矸石在发电中的应用。Wang等尝试将煤矸石用作建筑材料和农业肥料。此外,有学者还提出了综合机械化充填、矿山一体化充填、选矿回填和煤矸石胶凝物充填等地下充填技术。煤矸石的处理方法虽然实现了煤矸石的综合利用,但由于煅烧、研磨、酸碱改性等加工过程,会对环境造成二次污染。煤矸石地面回填技术通过分层构筑防渗层、阻隔层、封闭层及植被层的多级材料体系,成功实现了污染物迁移阻断与土壤-植被系统功能重建的双重目标。据统计我国煤矸石的综合利用率约为73%,其中煤矸石地面回填占消纳量的42%。
本文对当前我国煤矸石处理的国家政策和地方标准进行深入分析,在此基础上,介绍现有煤矸石综合利用的技术手段及其优势和局限性;鉴于煤矸石生态回填以高消纳量、低成本的优点成为煤矸石综合利用的主要方向,对煤矸石生态回填技术设计进行阐述,并对现有生态回填案例进行研究,揭示煤矸石生态回填的应用潜力,以期为我国煤炭产业的绿色转型和可持续发展提供支撑。
一、煤矸石综合利用政策与应用途径
1.1煤矸石利用相关政策分析
煤矸石是一种深灰色沉积岩,由页岩、泥岩、砂岩和煤构成,通常与低碳煤层共生。其硬度较高,灰分含量超过50%,颗粒密度介于2100~2900kg/cm³。化学成分上,煤矸石主要包含二氧化硅(SiO₂)、碳(C)、三氧化二铝(Al₂O₃)、三氧化二铁(Fe₂O₃)、氧化钙(CaO)、氧化镁(MgO)、氧化钾(K₂O)和氧化钠(Na₂O),其中碳含量较高,SiO₂含量约为50%。在矿物组成上,煤矸石主要由石英、黏土矿物和碳质物质构成,其中黏土矿物的比例在50%~70%,石英则占20%~30%,其余矿物和碳占10%~20%。煤矸石主要由铝(Al)和硅(Si)元素构成,同时含有铁(Fe)、钙(Ca)、镁(Mg)、钾(K)、汞(Hg)、铬(Cr)、铜(Cu)、锰(Mn)、铅(Pb)等微量元素,这些成分赋予了它潜在的环境风险。
鉴于煤矸石的庞大产量、高昂的运输成本以及地方产量的显著差异,我国长期以来遵循的煤矸石综合利用原则是将减少排放与扩大利用相结合,推行就近利用、分类利用、大宗利用及高附加值利用,并强化全过程管理,以提高煤矸石的利用量和利用率。因此,我国制定了一系列政策、法规和标准(表1),旨在规范煤矸石的处理和利用。1998年《煤矸石综合利用管理办法》首次明确禁止建设永久性煤矸石堆放场,并将煤矸石井下充填、发电和热电联产、生产建筑材料、回收矿产品、土地复垦及矸石山生态环境恢复作为主要的利用途径。尽管国家政策鼓励开展煤矸石的多种利用手段,但因经济性和消纳量的限制,井下充填和地面回填成为规模化处置的主要方向。



表1煤矸石利用相关政策、标准汇总
1999年印发的《煤矸石综合利用技术政策要点》提倡推广煤矸石复垦及回填矿井采空区技术;2016年印发的《煤炭工业发展“十三五”规划》建议大力发展煤矿清洁生产和循环经济,提升煤矸石资源综合利用水平;2019年印发的《关于推进大宗固体废弃物综合利用产业集聚发展的通知》建议加大采空区煤矸石回填的力度,合理推动煤矸石发电、生产建材、复垦绿化等规模化利用;2021年印发的《关于“十四五”大宗固体废弃物综合利用的指导意见》明确支持煤矸石土地复垦。综上所述,煤矸石地面回填不仅符合国家产业政策的要求,而且得到了国家的积极鼓励。
1.2煤矸石综合利用途径
当前,我国对煤矸石的综合利用主要依据其含碳量和发热量进行选择。根据GB/T 29163—2012《煤矸石利用技术导则》,煤矸石若含碳量较高(超过20%),则通常用于发电和供暖;若含碳量较低(低于4%),则可作为水泥、混凝土骨料等建筑材料的原料,或用作煤矿塌陷区的填充材料。总硫含量达到6%的煤矸石可回收硫精矿;作为燃料使用的煤矸石需根据燃烧过程中总硫含量采取相应的除尘脱硫措施,以减少烟尘和二氧化硫排放,避免大气污染。因此,将煤矸石的综合利用从工程利用、能量利用、生产利用和回收利用四部分进行阐述(图2)。

图2煤矸石综合利用技术路线
1.2.1煤矸石的工程利用
国内外学者从煤矸石的基本物理化学性质出发,进行煤矸石基充填浆料的扩散与传输特性、流变机理及力学特性等研究,目的是将其用于矿井回填。此外,烧失量低、有机质含量低、塑性指数小于10的煤矸石还可以用于道路材料的骨料,保证基层的稳定性。Zhang等将煤矸石骨料和沥青在150°C下混合搅拌15min,制备沥青砂浆用于道路铺设,煤矸石外孔的比表面积相对较高,增加了沥青与煤矸石的接触面积和相互作用能力,进而增强材料性能。煤矸石地面回填技术可以修复受损土地,缓解耕地资源紧张,同时固碳增汇。但是煤矸石成分异质性大,需要开发普适性的地面回填方式,并完善生态风险评估体系,避免造成二次污染。
1.2.2煤矸石的能量利用
煤矸石发电是目前综合利用煤矸石实现经济利润的主要方式。煤矸石由碳和其他易燃物质组成,可用于循环流化床锅炉发电和供暖。高热值煤矸石可直接用于燃烧,低热值煤矸石可与一定量的高热值材料(原煤、煤浆、秸秆等)混合,进行混合燃烧,提高能源转换效率。煤矸石颗粒的大小和硬度等物理特性会影响其内部的质量和热传输,从而影响循环流化床燃烧的有效性。煤矸石造气技术通过“预处理-气化-净化-利用”链条,将煤矸石中的碳、氢等可燃成分,通过气化技术使其转化为合成气(主要成分为CO、H₂、CH₄等),实现资源化利用。
1.2.3煤矸石的生产利用
煤矸石作为煤炭伴生固废,矿物组成复杂,不仅含有铝、硅、铁等常量元素,还富含镓(Ga)、锂(Li)、钛(Ti)、锗(Ge)等稀有金属元素,同时含有高岭土等黏土矿物资源。研究表明,通过针对性提取工艺,煤矸石可转化为稀有金属资源载体。例如,富锂煤矸石经碳燃烧预处理后,可强化后续锂元素的浸出效率。Xie等开发了“低温硫酸焙烧-水浸联合法”提取锂的工艺,将煤矸石破碎至80目以下,与浓硫酸(98%浓度)按1∶2的固液比混合,在200~250℃下焙烧2 h,使其中的锂以硫酸盐形式释放。
1.2.4煤矸石的回收利用
煤矸石含有大量的SiO₂和Al₂O₃赋予其火山灰活性与胶凝潜力,使其成为绿色建材生产的理想原料。煤矸石经过粉碎筛分、定型、坯料、干燥、焙烧、冷却等工序,可加工成砖和微晶玻璃或陶瓷等各种性能优良的煤矸石基建筑材料。Hu等利用煤矸石自发泡技术制造泡沫微晶玻璃,其抗压强度为10.11MPa,表现出优异的化学稳定性和超过99.5%的耐腐蚀性。制造煤矸石砖时,通常选择易破碎和风化的碳质煤矸石作为原材料。过量的SiO₂会对砖的可塑性产生负面影响,易导致干燥过程中开裂。由于煤矸石的矿物成分与土壤相似,并且富含腐殖酸等有机物。因此,其在土壤、耕地和肥料的加工过程中也被大量使用。Du等将煤矸石(60%)、玉米秸秆(20%)、粉煤灰(15%)和保水剂(5%)复配为栽培基质,使土壤孔隙率从35%提升至48%,田间持水量增加40%,玉米生物量提高2.3倍。煤矸石多孔结构(孔径0.1~10.0μm)为固氮菌、解磷菌等功能微生物提供定殖空间,接种菌剂后土壤酶活性提升50%~70%。
图3揭示了上述四种煤矸石综合利用方式的消纳量占比。表2则展示了煤矸石不同综合利用方式的区别,其中煤矸石生态回填以及制备肥料是目前成本最低、环境影响最小且能够大量消纳的方式。因此,本文将进一步讨论煤矸石生态回填技术。

图3煤矸石综合利用方式占比

表2煤矸石不同利用方式的对比分析
二、煤矸石生态回填技术设计
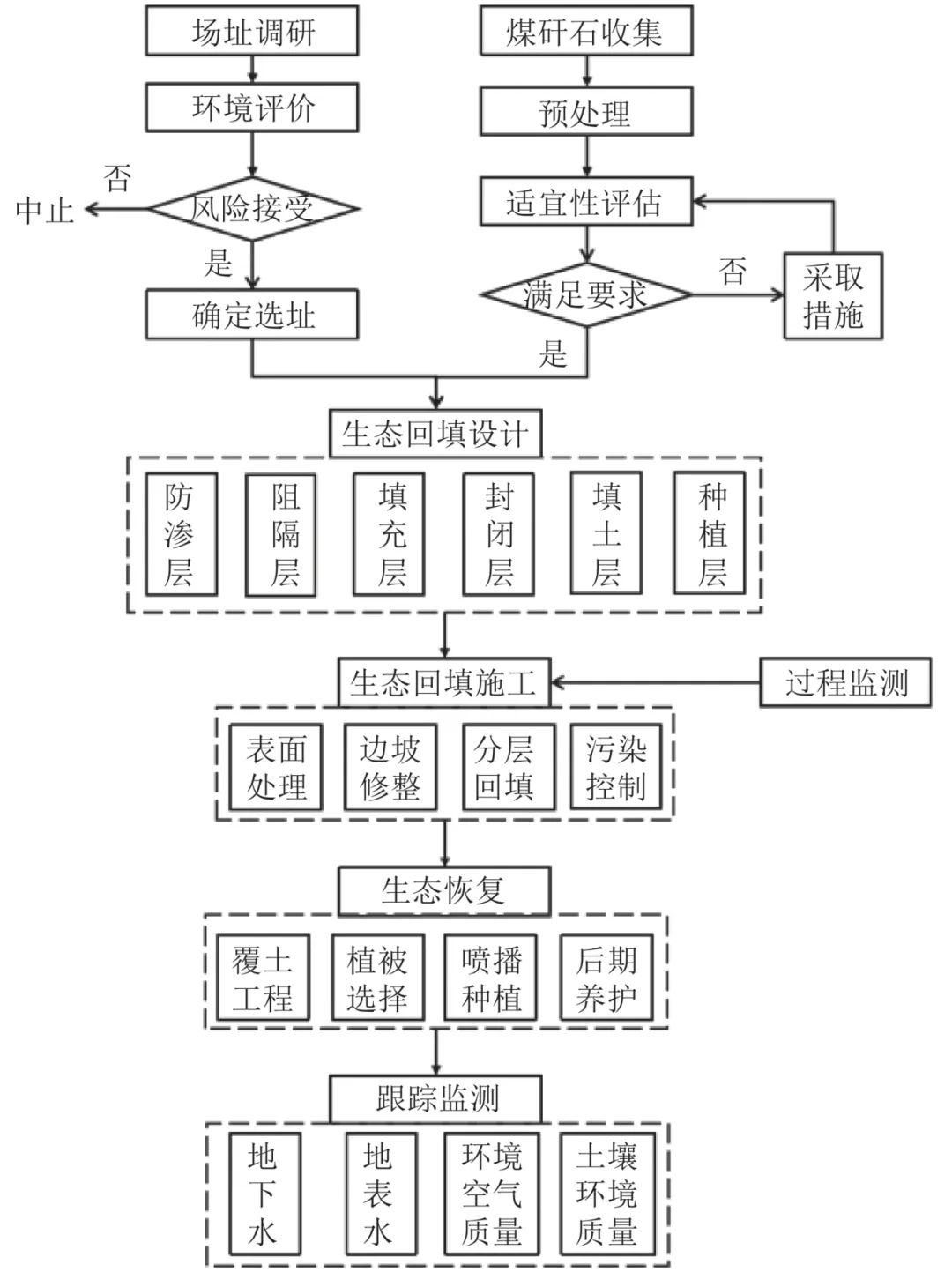
当前,我国矿山累计沉陷面积已达到135万hm²且每年以7万hm²的速度持续扩大。在煤炭开采区域,若未实施任何治理措施,将会导致地面沉降形成永久性盆地,这将严重扰乱土壤物理化学特性,影响养分循环,进而导致土地退化和生产力下降,加剧土地资源稀缺。鉴于此,采用煤矸石进行生态回填复垦不仅能够缓解土地资源紧张,还能修复因开采活动造成的塌陷区生态环境。然而,现行的回填技术往往过于简单直接,未能有效去除煤矸石中的有毒有害成分,这可能引发土壤和水体污染,对周边生态环境造成破坏。根据DB14/T 3225—2025《煤矸石生态回填环境保护技术规范》,煤矸石生态回填应因地制宜、合理规划,实施生态回填后的区域应与周边环境相适宜或优于回填前的生态环境,坚持“减量化、资源化、无害化”的原则,对煤矸石优先进行分类分级和高值化利用。煤矸石生态回填技术主要包括构建防渗层(可选)、阻隔层、封闭层、土壤层以及植被绿化层等多层次结构的设计(图4)。以下总结该技术工艺及各环节材料与参数的最新研究进展。

图4煤矸石生态回填技术流程
2.1煤矸石生态回填防渗层
2014年,国家发展和改革委员会联合九个部门对《煤矸石综合利用管理办法》进行了修订,其明确要求企业新建的临时煤矸石处置场应符合GB 18599—2020《一般工业固体废物贮存和填埋污染控制标准》。根据该标准,煤矸石因含有硫化物、重金属和可溶盐等潜在污染物,通常被归类为第Ⅱ类一般工业固体废物。此类固废的生态回填需遵循污染防控原则。防渗层设计是阻断污染物迁移至地下水和周边环境的核心屏障。土工膜(GMB)是最常用的防渗层材料之一,通常覆盖在压实黏土衬里(CCL)或土工合成黏土衬里(GCL)上。由于其在煤矸石回填过程中耐久性差、易破损的缺点,许多研究人员开展了防渗层替代材料的研究。例如,Souli等研究发现,重金属Zn2+污染可使防渗层渗透系数增大。Nayak等将市政污泥与煤矸石按1∶2混合,最终得到渗透系数小于1.0×10−7cm/s。Shackelford等研究发现渗透溶液成分对渗透系数影响显著,随重金属离子浓度增加,渗透系数逐渐增大。综上所述,不同防渗层材料在实验过程中表现不稳定,需要进一步探索和优化。
2.2煤矸石生态回填阻隔层
为了防止煤矸石堆存过程中发生自燃,需将煤矸石与阻隔材料分层填埋,以阻止氧气进入堆体,进而减少煤矸石中硫铁矿氧化释放热量。目前常用黄土作为隔氧材料,但大量使用矿区黄土会导致资源枯竭和二次环境破坏。因此,许多学者采用固废替代黄土构建隔氧层。如胡振琪等采用粉质黏土、粉土或粉煤灰作为单一材料构建覆盖阻燃层,实现了防火和防污染的双重目标。高志强以粉煤灰作为隔氧材料进行研究,发现其阻隔性能与压实系数呈正相关。陈潇等利用粉煤灰、电石渣等多元固废制备了隔氧层,发现其具有高强度、高密封性能和高耐久性,实现了隔氧阻燃的目标。
综上所述,固废作为黄土替代材料构建阻隔层是可行的,但当前研究主要集中在材料本身性能,对整体分层填埋效果缺乏系统研究。
2.3煤矸石生态回填封闭层
煤矸石生态回填闭库时,为了保护库区并防止水分和空气进入堆体,通常需要在库区加盖黄土和固废基胶凝材料作为封闭层。封闭层是煤矸石生态回填体系中的关键功能层,其核心作用是阻隔污染物迁移、调控水气交换并为上层土壤提供稳定支撑。结合煤矸石重金属风险及矿区地形特征,需通过多源固废协同改性构建兼具力学性能和环境安全性的封闭结构。
煤矸石作为骨料添加到封闭层材料的制备过程中,将煤矸石破碎为5~20mm的颗粒,与粉煤灰-电石渣制备的浆料按1∶1混合,形成骨架结构,渗透系数控制在1×10−7~5×10−7cm/s,兼具支撑与阻隔功能。封闭层与隔氧层通过界面粗糙度设计增强结合力,以防止层间滑移;封闭层胶凝结构具有高强度特性,防止土壤层作物根系扎穿,破坏密闭性。
2.4煤矸石生态回填填土层
填土层作为煤矸石生态回填体系的核心承载层,需通过煤矸石与其他固废的协同配比,实现大规模消纳、结构稳定和生态功能提升的目标。
煤矸石含有多种微量元素和养分,作为土壤改良材料,能改善土壤质量,提高植物产量,促进废弃地植被恢复。因此,在矿区裸露场地施用煤矸石基质改良材料,既能实现废物再利用,又能降低植被恢复成本。但煤矸石颗粒粒径较大,毛细孔隙率低,单独作为种植基质会导致基质结构较差和保水能力不足,不利于植物生长,学者们探讨了将煤矸石作为调理剂对土壤改善的效果。如Motesharezadeh等研究了不同煤矸石添加量(0%、5%、10%、20%和50%)对回填土壤的影响,发现10%煤矸石处理在玉米栽培中养分供应效果最佳。Wang则发现,在土壤中加入煤矸石可增强微生物活性和生物量,改善微环境,促进植物生长。Du等进行了一项优化配比试验,探索了煤矸石-土壤混合物、玉米秸秆、粉煤灰和保水剂的组合效果,结果表明这些材料的配合使用能有效改善基质理化性质,促进植物生长,并保证适宜的土壤养分配比。
合理使用这些调理剂和处理方法,有助于改善矿区土壤质量,为后续的植被恢复和生态系统重建奠定基础。
2.5煤矸石生态回填植被绿化层
植被绿化层的构建是煤矸石生态回填技术中实现生态功能恢复的核心环节。针对煤矸石理化特性及回填场地的特殊环境,需科学筛选适生植被并调控微生物群落,以增强生态系统稳定性和可持续性。研究发现,苜蓿、三叶草、山核桃、桃子、榆树叶、蟹梨、槐、火炬、松柏等先锋作物,均可用于矿区的生态修复。
煤矸石回填后,土壤微生物群落的多样性和活性对生态修复效果至关重要。微生物通过分解煤矸石中的有机质、促进矿物风化和重金属钝化等作用,逐步改善基质环境。Wang等研究了不同施肥制度和复垦时间下采煤塌陷区复垦土壤的性质和细菌群落。研究发现,随着复垦年限的增加,土壤的有机质、碱解氮、速效磷、速效钾含量及细菌多样性显著增加。这些变化反映了土壤生态系统的恢复与进化过程,有助于土壤健康和生态功能提升。
综上所述,合理选择适宜的植被并监测土壤细菌群落的多样性和结构,不仅有助于提高土壤肥力和植被覆盖率,还能增强土壤生态系统的整体功能和稳定性。
三、煤矸石生态回填应用案例及效果
2008年以来,我国在山西省白羊岭煤矿、西铭矿、王庄煤矿、屯兰煤矿等地相继实施了煤矸石生态回填工程,这些工程显著提升了煤矸石的大规模消纳能力,成功实现了矿区土壤质量改善、生态系统功能恢复和地质灾害风险防控,充分证明了生态回填技术在煤矸石治理中的高效性和可持续性(表3)。白羊岭煤矿于2019年实施治理,主要面临煤矸石渗滤液流出和含硫量高导致的自燃现象,对当地水和空气环境造成严重影响。治理措施包括灭火防复燃、山体整形和生态系统重建,使用了不同粒径的碎石和混合材料,最终实现了植被覆盖和生态环境的显著改善。西铭矿存在自燃现象以及因堆放方式不当引发的坍塌与滑坡隐患,通过优化堆放、加强防护和改善排水系统进行治理。治理后,植被覆盖率超过95%。王庄煤矿的煤矸石堆体于1998年自燃,导致大面积植被死亡和有毒气体排放,自2008年开始进行生态恢复,治理措施包括山体整形和混合材料的覆盖,治理效果显著,改善了矿区着火点附近生态环境,控制了有毒有害气体排放。屯兰煤矿面临自燃、高温和水土流失的问题,实施了挖除灭火和土壤改良等措施,改善了大气、水质和土壤指标,重建了稳定的生态系统,消除了滑坡等地质灾害隐患。


表3煤矸石生态回填案例分析
四、结语
煤矸石的综合利用与生态回填在减少资源消耗和环境污染方面具有广阔前景。煤矸石生态回填技术通过多层级材料设计与工艺创新,实现了污染物迁移阻断、土地功能恢复和固废资源化利用的协同目标。2014年《煤矸石综合利用管理办法》实施后,生态回填项目数量不断增长,消纳量占比提升至42%(2023年),成为主导技术路径。防渗层、隔氧层及封闭层的联合应用显著降低了渗滤液中重金属浓度。白羊岭、西铭等典型矿区通过生态回填,植被生物量增加。然而,煤矸石成分的波动性导致的材料性能差异,微生物与植被的协同机制稳定性不足,仍是技术推广的核心障碍。未来研究需聚焦于以下几个方面:开发基于机器学习的煤矸石分级分质利用系统;构建覆盖“迁移-转化-效应”的全生命周期监测网络;探索“光伏+回填”“碳汇交易+修复”等增值模式。通过技术、政策和市场三维联动,可为黄河流域等重点区域提供可复制的煤矸石治理方案,助推煤炭行业低碳转型。
文章来源:粉煤灰产业联盟,作者原野,宋慧平,张圆圆,吴海滨,高阳艳,魏健,转载此文是出于传递更多信息,未进行任何商业应用。若有来源标注错误或侵犯了您的权益,请与我们联系,我们将及时更正!

